您当前位置:首页 » 土木监理 » 监理细则
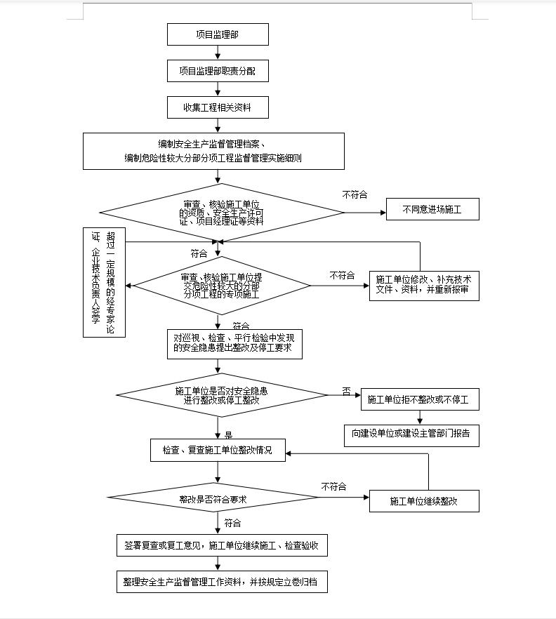
危大工程监理实施细则
  • 资料等级:
  • 授权方式:资料共享
  • 发布时间:2021-08-04 10:27:40
  • 资料类型:RAR
  • 资料大小:80.0 KB
  • 资料分类:土木监理
  • 运行环境:WinXp,Win2003,WinVista,Win ;
  • 解压密码:civilcn.com
危大工程监理实施细则
综合防洪功能的小(2)型水库。水库坝址以上集雨面积为0.5km2,除险加固后总库容19.49万m3,工程规模为Ⅴ等,工程主要建筑物为5级,次要建筑物为5级,300年校核洪水位66.05m,30年一遇设计水位65.76m,正常蓄水位64.88m,
软件截图
  • 危大工程监理实施细则
  • 危大工程监理实施细则
  • 危大工程监理实施细则