Äúµ±Ç°Î»Ö㺠Ê×Ò³» ÍÁľ¼àÀí» ¼àÀíϸÔò
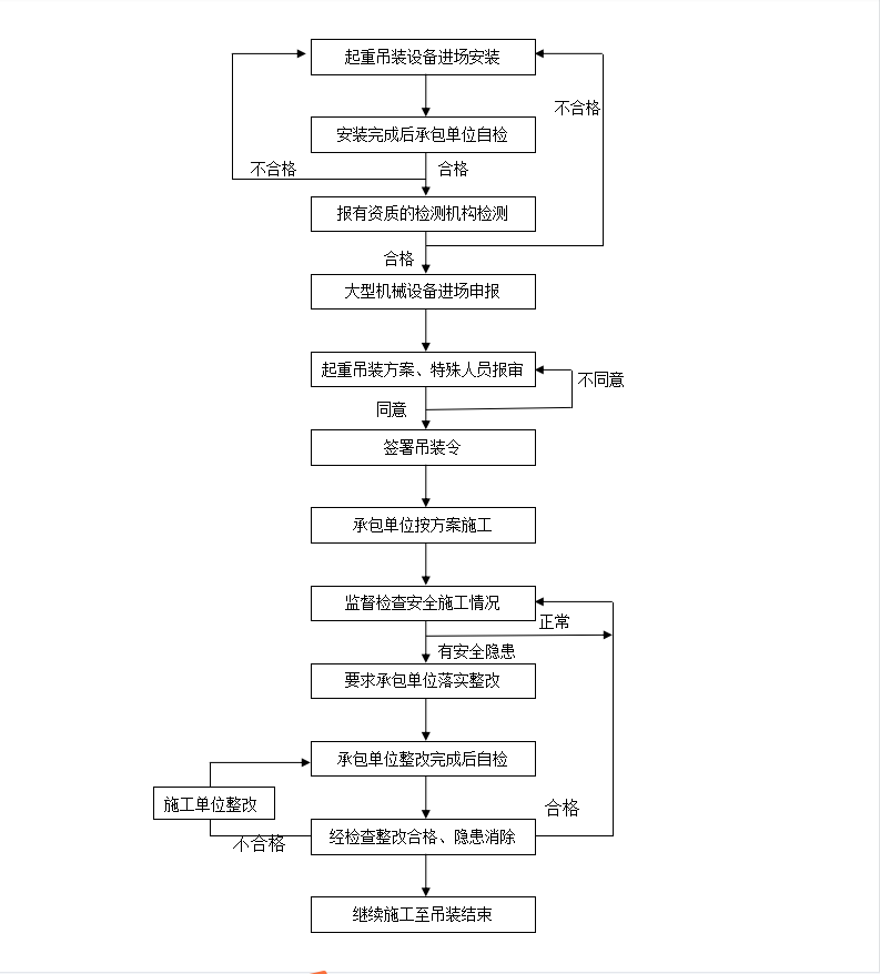
¶Ü¹¹»úµõװת³¡¼°¾®Ïµ÷Í·Æ½ÒÆ¼àÀíʵʩϸÔò 9p
  • ×ÊÁϵȼ¶£º
  • ÊÚȨ·½Ê½£º×ÊÁϹ²Ïí
  • ·¢²¼Ê±¼ä£º2022-02-22 09:17:02
  • ×ÊÁÏÀàÐÍ£ºRAR
  • ×ÊÁÏ´óС£º128 KB
  • ×ÊÁÏ·ÖÀࣺÍÁľ¼àÀí
  • ÔËÐл·¾³£ºWinXp,Win2003,WinVista,Win ;
  • ½âѹÃÜÂ룺civilcn.com
¶Ü¹¹»úµõװת³¡¼°¾®Ïµ÷Í·Æ½ÒÆ¼àÀíʵʩϸÔò 9p
±¾±ê¶Î²ÉÓÃ1̨ÈÕ±¾Ð¡ËÉTM634PMXÍÁѹƽºâʽ¶Ü¹¹»úÊ©¹¤£¬¶Ü¹¹¿ÇÌåÖ±¾¶¦Õ6340£¬¹ÜƬÍâ¾¶¦Õ6200¡¢ÄÚ¾¶¦Õ5500¡¢¿í¶È2500£¬ÊýÁ¿5+1£¨key£©£¬×îСˮƽÇúÏß°ë¾¶250Ã×£¬×î´ó×ÝÏòÆÂ¶È35¡ë£¬¹¤×÷ÍÁѹ3bar¡£¶Ü¹¹»úÓɶܹ¹±¾ÌåºÍÎå½Ų́³µµÈÉ豸×é³É£¬×ܳ¤66.7Ã×£¬ÆäÖб¾Ì峤¶È8.68Ã×£¬Îå½Ų́³µ×ܳ¤¶È44Ã×£¬»úÍ·×ÜÖØÁ¿Ô¼250¶Ö£¬É豸×ÜÖØÁ¿Ô¼390¶Ö¡£
Èí¼þ½ØÍ¼
  • ¶Ü¹¹»úµõ×°,¶Ü¹¹»úת³¡,¾®Ïµ÷Í·Æ½ÒÆ,¹ìµÀ¼àÀíϸÔò
  • ¶Ü¹¹»úµõ×°,¶Ü¹¹»úת³¡,¾®Ïµ÷Í·Æ½ÒÆ,¹ìµÀ¼àÀíϸÔò
  • ¶Ü¹¹»úµõ×°,¶Ü¹¹»úת³¡,¾®Ïµ÷Í·Æ½ÒÆ,¹ìµÀ¼àÀíϸÔò